INFO@MEHPRIVOD.RU
ООО Мехтехника
Тел.: 8 (800) 505-36-88

Моторные дроссели

Моторные дроссели

Моторные дроссели устанавливаются в сочетании с электрическими двигателями, что позволяет подавить гармоники высокой частоты в токе электромотора. Дроссель моторный также успешно применяется с целью решения задачи подавления скорости нарастания тока при аварийных ситуациях, компенсации емкостных токов. Полезно иметь в виду, что в качестве моторных можно использовать дроссели, применяющиеся с другими моделями ПЧ, выпускаемыми другими компаниями (отличия приходятся на параметры тока и индуктивность). Но в этом случае важно соблюдать ряд правил:

  • Работа в определенном частотном диапазоне;
  • Соответствующее напряжение в сети;
  • <li">Невысокая индуктивность может свести эффективность дросселя к нулю. </li">

Цена: от 2 200 руб.

Общее описание

Моторные дроссели обеспечивают:

  • Оперативное и своевременное подавление высокочастотных гармоник, образовывающихся в токе электродвигателя. Процесс формирования тока синусоидального вида в обмотках выполняется преобразователем посредством широтно-импульсной модуляции напряжения (положения синусоидального закона). В условиях низких частот ШИМ пульсации высокочастотного уровня моторного тока в ряде случаев достигают отметки в 5-10%. Гармоники тока провоцируют дополнительный нагрев электродвигателя;
  • Минимизацию скорости нарастания аварийных токов КЗ, а также способствуют задержке  достижения максимального уровня тока короткого замыкания. В результате выделяется определенный временной промежуток, необходимый для активации цепей электронной защиты преобразователя;
  • Ограничение токовой амплитуды КЗ. При факте внезапного КЗ на выходе преобразователя частоты ток короткого замыкания нарастает постепенно, то есть не внезапно по причине того, что в контуре тока короткого замыкания присутствуют индуктивности. Как только ток замыкания достигает отметки активации защиты преобразователя, электродвигатель тут же обесточивается. В силу того, что время, за которое срабатывает защита, отличается от нуля, наивысшее значение тока короткого замыкания в условиях применения моторного дросселя в действительности значительно меньше максимальной величины тока без дросселя. Другими словами, без установленного моторного дросселя большинство преобразователей просто не в состоянии обеспечить должный уровень защиты транзисторов преобразователя от одного или нескольких внезапных коротких замыканий на выходе частотника;
  • Компенсацию емкостных токов моторных кабелей (в данном случае имеются в виду длинные кабели). То есть моторные дроссели пресекают высокие емкостные токи и, как результат, препятствуют ложным срабатываниям защиты частотника от такого явления, как сверхтоки;
  • Снижение выбросов напряжения (явление происходит на обмотках двигателя). В процессе питания асинхронного электродвигателя от ПЧ к обмоткам прикладывается напряжение импульсов, характеризующееся высокими пиками перенапряжений, их общая величина превышает амплитуду показателей номинального напряжения самого электродвигателя. Такое положение может спровоцировать пробой изоляции обмоток, в частности, имеются в виду условия продолжительной эксплуатации оборудования, когда изоляционные свойства проводов и обмоток просто теряются.

Наименование

Номинальный ток, А

Индуктивность mH

Мощность подключаемого электровигателя, кВт

OR 002

2,5

4.7

0,75

OR 005

5

2.36

1,5

OR 007

7,5

1.57

2,2

OR 010

10

1.18

3,7

OR 015

15

0.8

5,5

OR 020

20

0.6

7,5

OR 030

30

0.4

11

OR 040

40

0.3

15

OR 050

50

0.24

18,5

OR 060

60

0.2

22

OR 076

76

0.155

30

OR 090

90

0.13

37

OR 120

120

0.1

45

OR 150

150

0.078

55

OR 190

190

0.062

75

OR 210

210

0.056

90

OR 250

250

0.047

110

OR 290

290

0.040

132

OR 330

330

0.036

160

Рекомендуемые моторные дроссели

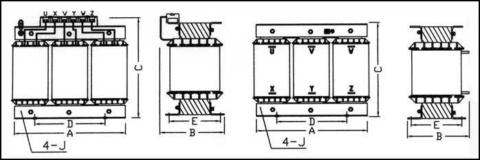
Наименование

Размеры, мм

Масса, кг

A±5

B±10

C±10

D±1

E±4

J±1

OR 002

130

90

135

80

70

7

3,2

OR 005

130

90

135

80

70

7

3,2

OR 007

130

90

135

80

70

7

3,2

OR 010

130

95

135

80

70

7

3,8

OR 015

165

105

140

80

75

7

3,8

OR 020

165

110

140

80

75

7

4,7

OR 030

165

115

140

80

75

7

4,7

OR 040

180

130

180

100

85

7

8,3

OR 050

180

130

180

100

85

7

8,4

OR 060

180

135

180

100

85

7

9,1

OR 076

230

160

200

120

105

10

16,4

OR 090

230

165

200

120

105

10

16,3

OR 120

230

175

200

120

105

10

17,6

OR 150

230

175

200

120

105

10

18,6

OR 190

260

190

230

140

115

10

26,0

OR 210

260

195

230

140

115

10

26,0

OR 250

260

200

235

140

115

10

26,4

OR 290

320

225

260

150

135

10

35,2

OR 330

320

230

265

150

135

10

37,0